2021年香港e特快最新時效出爐!到廣東省內各地1-3天
2021年香港e特快最近時效出爐
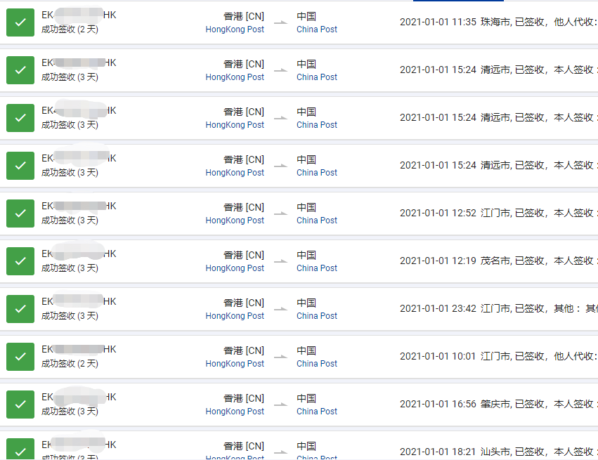
香港e特快最新時效怎么樣?給2021年的最新簽收的給大家看看。下面圖片均是紅旗速運發貨的數據,基于紅旗速運自己的數據,不代表香港e特快整個渠道都一樣時效,但是還是有參考價值的。大可以可以參考一下。

香港e特快這么快嗎?都是一天就能簽收?
當然是找最快的先曬一下了,時效從1-3天基本都正常,到廣東省內還是都很快的,大家發貨只需考慮香港打包發貨等會不會耽誤。紅旗速運香港屯門有兩個倉庫收貨打包,能大幅加快打包速度,并且我們每天都不定時發貨,大小貨物無限制,發貨速度快。e特快處理中心每天發車,香港段的時效基本不會有太多耽誤,整體時效都是非常滿意的。


到廣東省內時效基本都有保障,和國內快遞也不會相差太多,畢竟還是需要打包,清關等環節。
香港e特快相比其他渠道怎么樣呢?
1、香港正規直郵渠道都是需要經過海關清關才能到國內派送的,廣州郵局海關365天不間斷清關,整體清關時效還是比其他cc直郵要快的。并且郵局海關處理能力要遠比其他cc口岸要強,清關基本不會出現壓好多天排隊的情況。
2、香港e特快處理中心每天發車,工作日天天出貨,無需拼車集貨等待。
3、紅旗速運每天不間斷發貨,屯門倉就在處理中心樓上,發貨極為方便,無需等待集貨。大小貨物送到屯門倉,出貨速度都是最快的!
4、國內郵政全國無死角派送,節假日全部正常派送,現在時效也非常快。
香港e特快直郵國內時效都是很快的,紅旗速運為大家提供更加專業的香港e特快直郵服務。香港e特快,香港直郵進口,信賴紅旗速運!
香港中轉為啥這么火?免稅港+航班密集,香港天生就是轉運王者!
有些人追求儀式感,喜歡自己來倉庫領取包裹,每一趟都是冒險之旅
那e特快到底有啥特別的?嘿嘿,亮點多到數不過來!這條渠道主打
1.郵政渠道里的“王者”:e特快可以選擇在廣州清關,然后派送
說到寄貨方式,紅旗速運提供的香港直郵服務絕對值得點贊!他們有